Запчасти для квадроциклов STELS
Багажник подседельный КВАДРОЦИКЛА STELS ATV 600 GT
Багажники передний и задний КВАДРОЦИКЛА STELS ATV 600 GT
Бак топливный (инжектор) КВАДРОЦИКЛА STELS ATV 600 GT
Бак топливный (карбюратор) КВАДРОЦИКЛА STELS ATV 600 GT
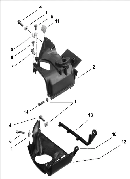
Бампер КВАДРОЦИКЛА STELS ATV 600 GT
Вариатор КВАДРОЦИКЛА STELS ATV 600 GT
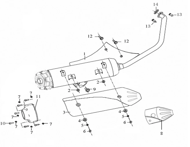
Выхлопная система КВАДРОЦИКЛА STELS ATV 600 GT
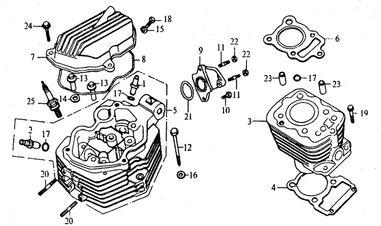
Головка блока цилиндра (инжектор) КВАДРОЦИКЛА STELS ATV 600 GT
Головка блока цилиндра (карбюратор) КВАДРОЦИКЛА STELS ATV 600 GT
ДВС КВАДРОЦИКЛА STELS ATV 600 GT
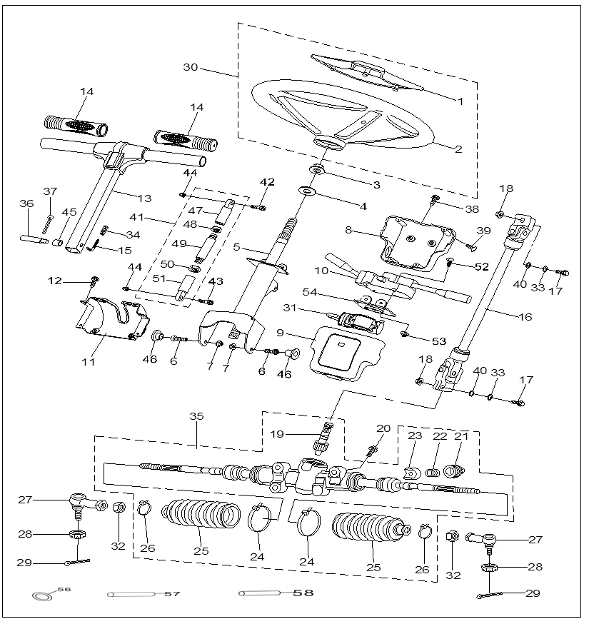
Детали руля (карбюратор, инжектор) КВАДРОЦИКЛА STELS ATV 600 GT
Задняя подвеска, левая сторона КВАДРОЦИКЛА STELS ATV 600 GT
Задняя подвеска, правая сторона КВАДРОЦИКЛА STELS ATV 600 GT
Защита КВАДРОЦИКЛА STELS ATV 600 GT
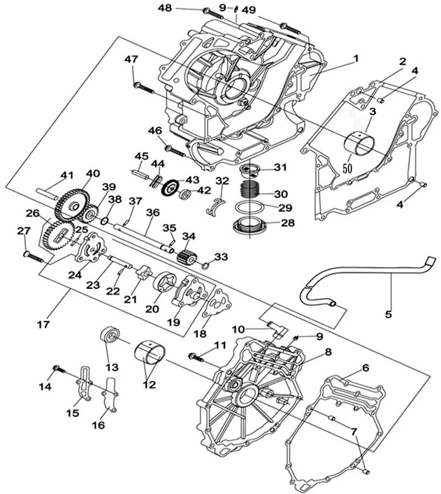
Картер двигателя (левая половина) КВАДРОЦИКЛА STELS ATV 600 GT
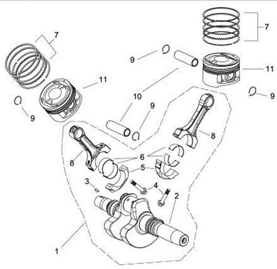
Коленвал, обгонная муфта, диск сцепления КВАДРОЦИКЛА STELS ATV 600 GT
Колеса КВАДРОЦИКЛА STELS ATV 600 GT
Корпус магнето КВАДРОЦИКЛА STELS ATV 600 GT
Крышка вариатора КВАДРОЦИКЛА STELS ATV 600 GT
Крышка головки блока цилиндров, распредвалы КВАДРОЦИКЛА STELS ATV 600 GT
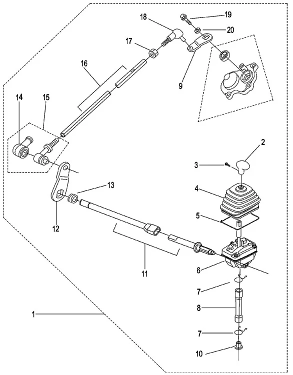
Механизм переключения передач (часть 1) КВАДРОЦИКЛА STELS ATV 600 GT
Механизм переключения передач (часть 2) КВАДРОЦИКЛА STELS ATV 600 GT
Наклейки КВАДРОЦИКЛА STELS ATV 600 GT
Облицовка корпуса, задняя часть КВАДРОЦИКЛА STELS ATV 600 GT
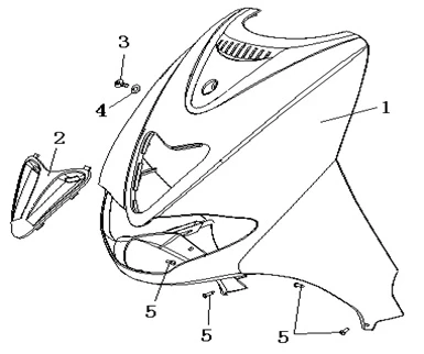
Облицовка корпуса, передняя часть КВАДРОЦИКЛА STELS ATV 600 GT
Освещение КВАДРОЦИКЛА STELS ATV 600 GT
Передняя подвеска, левая сторона КВАДРОЦИКЛА STELS ATV 600 GT
Передняя подвеска, правая сторона КВАДРОЦИКЛА STELS ATV 600 GT
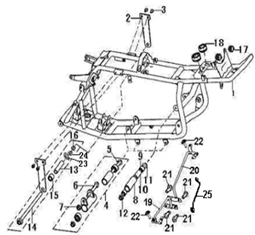
Рама КВАДРОЦИКЛА STELS ATV 600 GT
Редуктор задний (новый) КВАДРОЦИКЛА STELS ATV 600 GT
Редуктор задний (старый) КВАДРОЦИКЛА STELS ATV 600 GT
Редуктор задний КВАДРОЦИКЛА STELS ATV 600 GT
Редуктор переднего моста в сборе КВАДРОЦИКЛА STELS ATV 600 GT
Редуктор передний (новый) КВАДРОЦИКЛА STELS ATV 600 GT
Редуктор передний (старый) КВАДРОЦИКЛА STELS ATV 600 GT
Редуктор передний (часть 1) КВАДРОЦИКЛА STELS ATV 600 GT
Редуктор передний (часть 2) КВАДРОЦИКЛА STELS ATV 600 GT
Редуктор передний (часть 3) КВАДРОЦИКЛА STELS ATV 600 GT
Редуктор передний (часть 4) КВАДРОЦИКЛА STELS ATV 600 GT
Редуктор передний (часть 5) КВАДРОЦИКЛА STELS ATV 600 GT
Рулевая колонка (с электроусилителем руля EPS) КВАДРОЦИКЛА STELS ATV 600 GT
Рулевая колонка КВАДРОЦИКЛА STELS ATV 600 GT
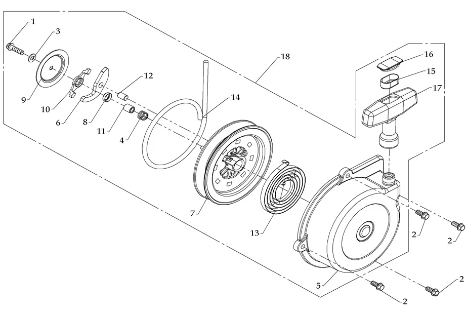
Ручной стартер КВАДРОЦИКЛА STELS ATV 600 GT
Сиденье (два пассажира) КВАДРОЦИКЛА STELS ATV 600 GT
Система впуска (карбюратор, инжектор) КВАДРОЦИКЛА STELS ATV 600 GT
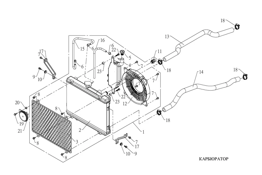
Система охлаждения (карбюратор, инжектор) КВАДРОЦИКЛА STELS ATV 600 GT
Спинка сиденья КВАДРОЦИКЛА STELS ATV 600 GT
Тормозная система КВАДРОЦИКЛА STELS ATV 600 GT
Трансмиссия КВАДРОЦИКЛА STELS ATV 600 GT
Цилиндр, поршень КВАДРОЦИКЛА STELS ATV 600 GT
Электрооборудование (инжектор + EPS) КВАДРОЦИКЛА STELS ATV 600 GT
Электрооборудование (карбюратор) КВАДРОЦИКЛА STELS ATV 600 GT
Электроусилитель руля (EPS) КВАДРОЦИКЛА STELS ATV 600 GT
Багажник подседельный КВАДРОЦИКЛА STELS ATV 700 GT 2012
Багажники передний и задний КВАДРОЦИКЛА STELS ATV 700 GT 2012
Бак топливный (инжектор) КВАДРОЦИКЛА STELS ATV 700 GT 2012
Бак топливный (карбюратор) КВАДРОЦИКЛА STELS ATV 700 GT 2012
Бампер КВАДРОЦИКЛА STELS ATV 700 GT 2012
Вариатор КВАДРОЦИКЛА STELS ATV 700 GT 2012
Выхлопная система КВАДРОЦИКЛА STELS ATV 700 GT 2012
Головка блока цилиндров (инжектор) КВАДРОЦИКЛА STELS ATV 700 GT 2012
Головка блока цилиндров (карбюратор) КВАДРОЦИКЛА STELS ATV 700 GT 2012
Двигатель 700 с.с. КВАДРОЦИКЛА STELS ATV 700 GT 2012
Детали руля КВАДРОЦИКЛА STELS ATV 700 GT 2012
Дополнительные запчасти КВАДРОЦИКЛА STELS ATV 700 GT 2012
Задняя подвеска, левая сторона КВАДРОЦИКЛА STELS ATV 700 GT 2012
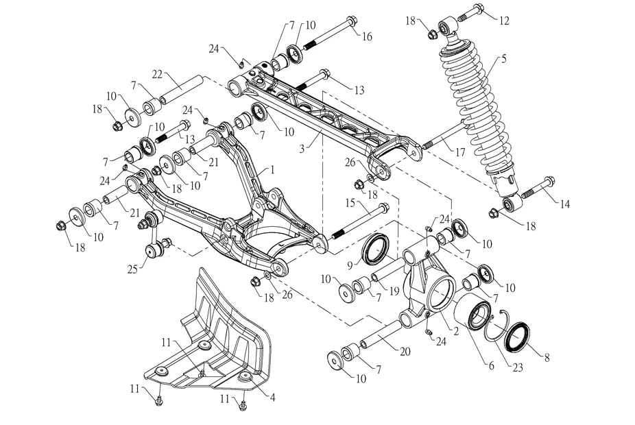
Задняя подвеска, правая сторона КВАДРОЦИКЛА STELS ATV 700 GT 2012
Защита КВАДРОЦИКЛА STELS ATV 700 GT 2012
Картер двигателя (левая половина) КВАДРОЦИКЛА STELS ATV 700 GT 2012
Картер двигателя (правая половина) и картер вариатора КВАДРОЦИКЛА STELS ATV 700 GT 2012
Коленвал, обгонная муфта, диск сцепления КВАДРОЦИКЛА STELS ATV 700 GT 2012
Колеса КВАДРОЦИКЛА STELS ATV 700 GT 2012
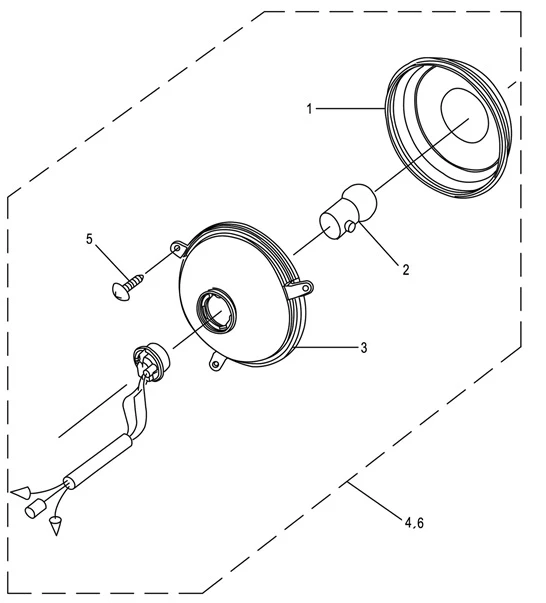
Корпус магнето КВАДРОЦИКЛА STELS ATV 700 GT 2012
Крышка вариатора КВАДРОЦИКЛА STELS ATV 700 GT 2012
Крышка головки блока цилиндров, распредвалы КВАДРОЦИКЛА STELS ATV 700 GT 2012
Механизм переключения передач (Часть 1) КВАДРОЦИКЛА STELS ATV 700 GT 2012
Механизм переключения передач (Часть 2) КВАДРОЦИКЛА STELS ATV 700 GT 2012
Наклейки КВАДРОЦИКЛА STELS ATV 700 GT 2012
Облицовка корпуса, задняя часть КВАДРОЦИКЛА STELS ATV 700 GT 2012
Облицовка корпуса, передняя часть КВАДРОЦИКЛА STELS ATV 700 GT 2012
Освещение КВАДРОЦИКЛА STELS ATV 700 GT 2012
Передняя подвеска, левая сторона КВАДРОЦИКЛА STELS ATV 700 GT 2012
Передняя подвеска, правая сторона КВАДРОЦИКЛА STELS ATV 700 GT 2012
Рама КВАДРОЦИКЛА STELS ATV 700 GT 2012
Редуктор задний (новый) (Часть 1) КВАДРОЦИКЛА STELS ATV 700 GT 2012
Редуктор задний (новый) (Часть 2) КВАДРОЦИКЛА STELS ATV 700 GT 2012
Редуктор задний КВАДРОЦИКЛА STELS ATV 700 GT 2012
Редуктор передний (новый) (Часть 1) КВАДРОЦИКЛА STELS ATV 700 GT 2012
Редуктор передний (новый) (Часть 2) КВАДРОЦИКЛА STELS ATV 700 GT 2012
Редуктор передний (новый) (Часть 3) КВАДРОЦИКЛА STELS ATV 700 GT 2012
Редуктор передний (новый) (Часть 4) КВАДРОЦИКЛА STELS ATV 700 GT 2012
Редуктор передний (новый) (Часть 5) КВАДРОЦИКЛА STELS ATV 700 GT 2012
Редуктор передний (новый) (Часть 6) КВАДРОЦИКЛА STELS ATV 700 GT 2012
Рулевая колонка КВАДРОЦИКЛА STELS ATV 700 GT 2012
Ручной стартер КВАДРОЦИКЛА STELS ATV 700 GT 2012
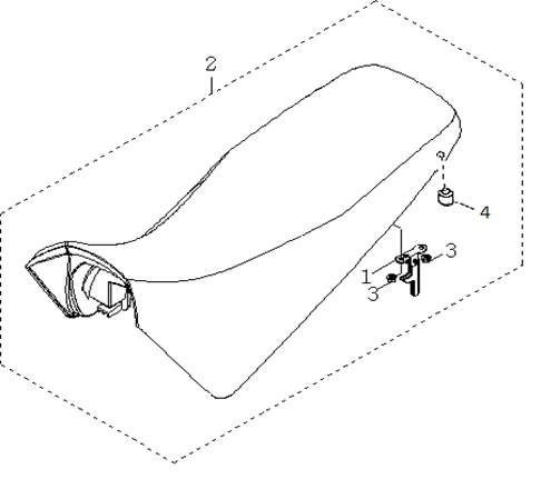
Сиденье (два пассажира) КВАДРОЦИКЛА STELS ATV 700 GT 2012
Система впуска (инжектор) КВАДРОЦИКЛА STELS ATV 700 GT 2012
Система впуска (карбюратор) КВАДРОЦИКЛА STELS ATV 700 GT 2012
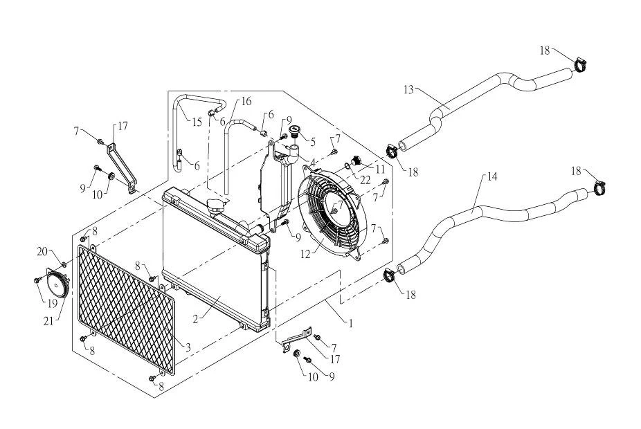
Система охлаждения КВАДРОЦИКЛА STELS ATV 700 GT 2012
Спинка сиденья КВАДРОЦИКЛА STELS ATV 700 GT 2012
Тормозная система КВАДРОЦИКЛА STELS ATV 700 GT 2012
Трансмиссия КВАДРОЦИКЛА STELS ATV 700 GT 2012
Цилиндр, поршень КВАДРОЦИКЛА STELS ATV 700 GT 2012
Электрооборудование (инжектор) КВАДРОЦИКЛА STELS ATV 700 GT 2012
Электрооборудование (карбюратор) КВАДРОЦИКЛА STELS ATV 700 GT 2012
Багажник подседельный КВАДРОЦИКЛА STELS ATV 700 D 2010
Багажники передний и задний DELUXE КВАДРОЦИКЛА STELS ATV 700 D 2010
Бак топливный (инжектор) КВАДРОЦИКЛА STELS ATV 700 D 2010
Бак топливный (карбюратор) КВАДРОЦИКЛА STELS ATV 700 D 2010
Вариатор КВАДРОЦИКЛА STELS ATV 700 D 2010
Выхлопная система КВАДРОЦИКЛА STELS ATV 700 D 2010
Головка блока цилиндра (инжектор) КВАДРОЦИКЛА STELS ATV 700 D 2010
Головка блока цилиндра (карбюратор) КВАДРОЦИКЛА STELS ATV 700 D 2010
Двигатель 700 с.с. КВАДРОЦИКЛА STELS ATV 700 D 2010
Детали руля КВАДРОЦИКЛА STELS ATV 700 D 2010
Дополнительно КВАДРОЦИКЛА STELS ATV 700 D 2010
Задняя подвеска, левая сторона КВАДРОЦИКЛА STELS ATV 700 D 2010
Защита КВАДРОЦИКЛА STELS ATV 700 D 2010
Картер двигателя (левая половина) КВАДРОЦИКЛА STELS ATV 700 D 2010
Картер двигателя (правая половина) и картер вариатора КВАДРОЦИКЛА STELS ATV 700 D 2010
Коленвал, обгонная муфта, диск сцепления КВАДРОЦИКЛА STELS ATV 700 D 2010
Колеса КВАДРОЦИКЛА STELS ATV 700 D 2010
Корпус магнето КВАДРОЦИКЛА STELS ATV 700 D 2010
Крышка вариатора КВАДРОЦИКЛА STELS ATV 700 D 2010
Крышка головки блока цилиндров, распредвалы КВАДРОЦИКЛА STELS ATV 700 D 2010
Редуктор задний (новый)(Часть 2) КВАДРОЦИКЛА STELS ATV 700 D 2010
Редуктор задний КВАДРОЦИКЛА STELS ATV 700 D 2010
Редуктор передний (новый)(Часть 1) КВАДРОЦИКЛА STELS ATV 700 D 2010
Редуктор передний (новый)(Часть 2) КВАДРОЦИКЛА STELS ATV 700 D 2010
Редуктор передний (новый)(Часть 3) КВАДРОЦИКЛА STELS ATV 700 D 2010
Редуктор передний (новый)(Часть 4) КВАДРОЦИКЛА STELS ATV 700 D 2010
Редуктор передний (новый)(Часть 5) КВАДРОЦИКЛА STELS ATV 700 D 2010
Редуктор передний (новый)(Часть 6) КВАДРОЦИКЛА STELS ATV 700 D 2010
Редуктор передний (новый)(Часть 7) КВАДРОЦИКЛА STELS ATV 700 D 2010
Редуктор передний КВАДРОЦИКЛА STELS ATV 700 D 2010
Рулевая колонка КВАДРОЦИКЛА STELS ATV 700 D 2010
Ручной стартер КВАДРОЦИКЛА STELS ATV 700 D 2010
Сиденье (два пассажира) КВАДРОЦИКЛА STELS ATV 700 D 2010
Система впуска (инжектор) КВАДРОЦИКЛА STELS ATV 700 D 2010
Система впуска (карбюратор) КВАДРОЦИКЛА STELS ATV 700 D 2010
Система охлаждения КВАДРОЦИКЛА STELS ATV 700 D 2010
Тормозная система КВАДРОЦИКЛА STELS ATV 700 D 2010
Трансмиссия КВАДРОЦИКЛА STELS ATV 700 D 2010
Цилиндр, поршень КВАДРОЦИКЛА STELS ATV 700 D 2010
Электрооборудование (инжектор) КВАДРОЦИКЛА STELS ATV 700 D 2010
Электрооборудование (карбюратор) КВАДРОЦИКЛА STELS ATV 700 D 2010
Бак топливный КВАДРОЦИКЛА STELS ATV 800 GT
Бампер и багажники КВАДРОЦИКЛА STELS ATV 800 GT
Вариатор КВАДРОЦИКЛА STELS ATV 800 GT
Вентиляция вариатора КВАДРОЦИКЛА STELS ATV 800 GT
Водяной насос КВАДРОЦИКЛА STELS ATV 800 GT
Выхлопная система КВАДРОЦИКЛА STELS ATV 800 GT
Главная передача КВАДРОЦИКЛА STELS ATV 800 GT
Головка блока цилиндра КВАДРОЦИКЛА STELS ATV 800 GT
ГРМ КВАДРОЦИКЛА STELS ATV 800 GT
Двигатель 800 с.с. КВАДРОЦИКЛА STELS ATV 800 GT
Детали руля, левая сторона КВАДРОЦИКЛА STELS ATV 800 GT
Детали руля, правая сторона КВАДРОЦИКЛА STELS ATV 800 GT
Диски, колпаки колес КВАДРОЦИКЛА STELS ATV 800 GT
Дополнительно КВАДРОЦИКЛА STELS ATV 800 GT
Задняя подвеска КВАДРОЦИКЛА STELS ATV 800 GT
Замки мотовездехода КВАДРОЦИКЛА STELS ATV 800 GT
Картер двигателя, левая половина КВАДРОЦИКЛА STELS ATV 800 GT
Картер двигателя, правая половина КВАДРОЦИКЛА STELS ATV 800 GT
Картер коробки переключения передач КВАДРОЦИКЛА STELS ATV 800 GT
Клапана КВАДРОЦИКЛА STELS ATV 800 GT
Коленвал, поршень КВАДРОЦИКЛА STELS ATV 800 GT
Корпус дроссельной заслонки (EFI) КВАДРОЦИКЛА STELS ATV 800 GT
Магнето КВАДРОЦИКЛА STELS ATV 800 GT
Механизм переключения передач (Часть 1) КВАДРОЦИКЛА STELS ATV 800 GT
Механизм переключения передач (Часть 2) КВАДРОЦИКЛА STELS ATV 800 GT
Наклейки КВАДРОЦИКЛА STELS ATV 800 GT
Облицовка корпуса, задняя часть КВАДРОЦИКЛА STELS ATV 800 GT
Облицовка корпуса, передняя часть КВАДРОЦИКЛА STELS ATV 800 GT
Облицовка топливного бака КВАДРОЦИКЛА STELS ATV 800 GT
Опоры для ног КВАДРОЦИКЛА STELS ATV 800 GT
Освещение (заднее) КВАДРОЦИКЛА STELS ATV 800 GT
Освещение (переднее) КВАДРОЦИКЛА STELS ATV 800 GT
Панель приборная КВАДРОЦИКЛА STELS ATV 800 GT
Передняя подвеска КВАДРОЦИКЛА STELS ATV 800 GT
Привода задних колес КВАДРОЦИКЛА STELS ATV 800 GT
Привода передних колес КВАДРОЦИКЛА STELS ATV 800 GT
Рама квадроцикла STELS ATV 800 GT
Редуктор задний КВАДРОЦИКЛА STELS ATV 800 GT
Редуктор передний КВАДРОЦИКЛА STELS ATV 800 GT
Рулевая колонка КВАДРОЦИКЛА STELS ATV 800 GT
Сиденье КВАДРОЦИКЛА STELS ATV 800 GT
Система охлаждения КВАДРОЦИКЛА STELS ATV 800 GT
Стабилизатор поперечной устойчивости КВАДРОЦИКЛА STELS ATV 800 GT
Стартер ДВС КВАДРОЦИКЛА STELS ATV 800 GT
Тормозная система (Emark) КВАДРОЦИКЛА STELS ATV 800 GT
Тормозной диск (задний тормоз) КВАДРОЦИКЛА STELS ATV 800 GT
Тормозной диск (передний тормоз) КВАДРОЦИКЛА STELS ATV 800 GT
Трубопроводы системы охлаждения КВАДРОЦИКЛА STELS ATV 800 GT
Фильтр воздушный КВАДРОЦИКЛА STELS ATV 800 GT
Фонарь указателя поворотов (задний) КВАДРОЦИКЛА STELS ATV 800 GT
Цилиндры КВАДРОЦИКЛА STELS ATV 800 GT
Шестерни главной передачи КВАДРОЦИКЛА STELS ATV 800 GT
Шестерни коробки переключения передач КВАДРОЦИКЛА STELS ATV 800 GT
Электрооборудование КВАДРОЦИКЛА STELS ATV 800 GT
Амортизатор задней подвески КВАДРОЦИКЛА STELS ATV 100 RS
Бак топливный КВАДРОЦИКЛА STELS ATV 100 RS
Бампер задний КВАДРОЦИКЛА STELS ATV 100 RS
Бампер передний КВАДРОЦИКЛА STELS ATV 100 RS
Вал привода КВАДРОЦИКЛА STELS ATV 100 RS
Вентилятор, кожух охлаждения КВАДРОЦИКЛА STELS ATV 100 RS
Генератор КВАДРОЦИКЛА STELS ATV 100 RS
Глушитель КВАДРОЦИКЛА STELS ATV 100 RS
Карбюратор КВАДРОЦИКЛА STELS ATV 100 RS
Картер двигателя КВАДРОЦИКЛА STELS ATV 100 RS
Коленчатый вал, поршень КВАДРОЦИКЛА STELS ATV 100 RS
Колесо заднее КВАДРОЦИКЛА STELS ATV 100 RS
Колесо переднее КВАДРОЦИКЛА STELS ATV 100 RS
Наклейки предупреждающие КВАДРОЦИКЛА STELS ATV 100 RS
Насос масляный КВАДРОЦИКЛА STELS ATV 100 RS
Ось задняя КВАДРОЦИКЛА STELS ATV 100 RS
Педаль тормоза КВАДРОЦИКЛА STELS ATV 100 RS
Переключатели рудевые КВАДРОЦИКЛА STELS ATV 100 RS
Подвеска задняя КВАДРОЦИКЛА STELS ATV 100 RS
Подвеска передняя КВАДРОЦИКЛА STELS ATV 100 RS
Рама КВАДРОЦИКЛА STELS ATV 100 RS
Рулевое управление КВАДРОЦИКЛА STELS ATV 100 RS
Руль КВАДРОЦИКЛА STELS ATV 100 RS
Рычаг переключения передач КВАДРОЦИКЛА STELS ATV 100 RS
Сиденье КВАДРОЦИКЛА STELS ATV 100 RS
Система впуска КВАДРОЦИКЛА STELS ATV 100 RS
Система запуска КВАДРОЦИКЛА STELS ATV 100 RS
Спидометр КВАДРОЦИКЛА STELS ATV 100 RS
Стартер КВАДРОЦИКЛА STELS ATV 100 RS
Сцепление КВАДРОЦИКЛА STELS ATV 100 RS
Тормоз задний КВАДРОЦИКЛА STELS ATV 100 RS
Трансмиссия КВАДРОЦИКЛА STELS ATV 100 RS
Фара КВАДРОЦИКЛА STELS ATV 100 RS
Фонарь задний КВАДРОЦИКЛА STELS ATV 100 RS
Фонарь поворотов КВАДРОЦИКЛА STELS ATV 100 RS
Цапфа передняя КВАДРОЦИКЛА STELS ATV 100 RS
Цилиндр КВАДРОЦИКЛА STELS ATV 100 RS
Щитки облицовочные КВАДРОЦИКЛА STELS ATV 100 RS
Электрооборудование КВАДРОЦИКЛА STELS ATV 100 RS
Бак масляный КВАДРОЦИКЛА STELS ATV 50 C
Бак топливный КВАДРОЦИКЛА STELS ATV 50 C
Вариатор КВАДРОЦИКЛА STELS ATV 50 C
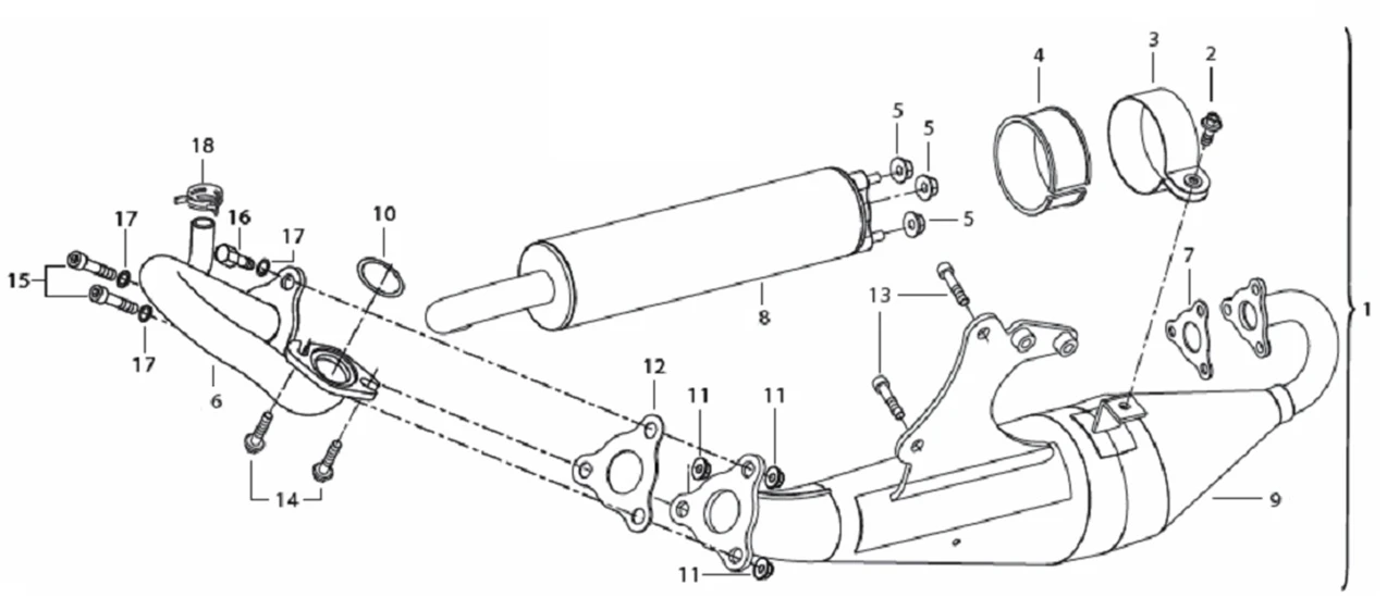
Выхлопная система КВАДРОЦИКЛА STELS ATV 50 C
Головка и цилиндр двигателя КВАДРОЦИКЛА STELS ATV 50 C
Детали руля КВАДРОЦИКЛА STELS ATV 50 C
Задние колеса КВАДРОЦИКЛА STELS ATV 50 C
Задний амортизатор КВАДРОЦИКЛА STELS ATV 50 C
Задняя подвеска КВАДРОЦИКЛА STELS ATV 50 C
Инструмент КВАДРОЦИКЛА STELS ATV 50 C
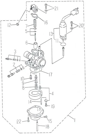
Карбюратор КВАДРОЦИКЛА STELS ATV 50 C
Картер двигателя КВАДРОЦИКЛА STELS ATV 50 C
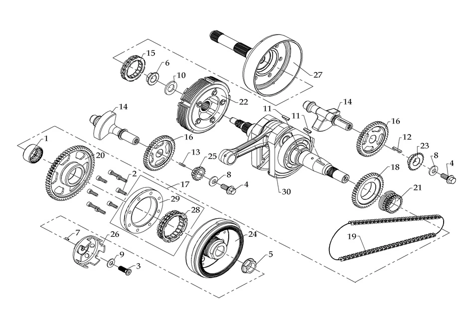
Коленвал, поршень КВАДРОЦИКЛА STELS ATV 50 C
Крышка вариатора КВАДРОЦИКЛА STELS ATV 50 C
Лепестковый клапан КВАДРОЦИКЛА STELS ATV 50 C
Магнето КВАДРОЦИКЛА STELS ATV 50 C
Масляный насос и его привод КВАДРОЦИКЛА STELS ATV 50 C
Наклейки (желтый цвет) КВАДРОЦИКЛА STELS ATV 50 C
Наклейки (зеленый цвет) КВАДРОЦИКЛА STELS ATV 50 C
Облицовка корпуса КВАДРОЦИКЛА STELS ATV 50 C
Опоры для ног КВАДРОЦИКЛА STELS ATV 50 C
Охлаждение цилиндра КВАДРОЦИКЛА STELS ATV 50 C
Передние колеса КВАДРОЦИКЛА STELS ATV 50 C
Передний амортизатор КВАДРОЦИКЛА STELS ATV 50 C
Передняя подвеска КВАДРОЦИКЛА STELS ATV 50 C
Привод задних колес КВАДРОЦИКЛА STELS ATV 50 C
Привод кик-стартера и пусковой механизм КВАДРОЦИКЛА STELS ATV 50 C
Рама КВАДРОЦИКЛА STELS ATV 50 C
Реверсивная коробка КВАДРОЦИКЛА STELS ATV 50 C
Редуктор задний КВАДРОЦИКЛА STELS ATV 50 C
Рычаг кик-стартера КВАДРОЦИКЛА STELS ATV 50 C
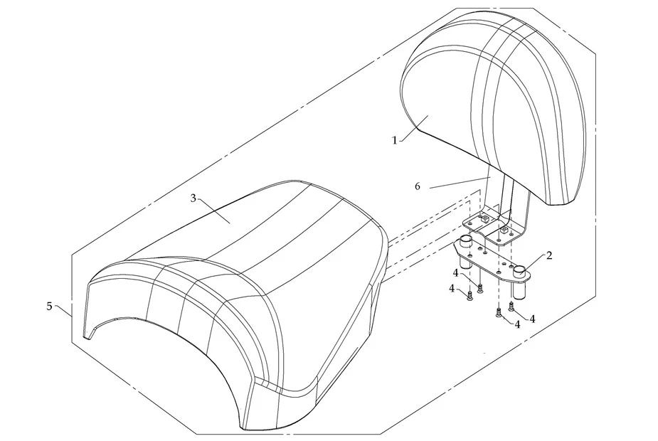
Сиденье КВАДРОЦИКЛА STELS ATV 50 C
Тормозная система КВАДРОЦИКЛА STELS ATV 50 C
Трансмиссия КВАДРОЦИКЛА STELS ATV 50 C
Фильтр воздушный КВАДРОЦИКЛА STELS ATV 50 C
Электрооборудование КВАДРОЦИКЛА STELS ATV 50 C
Бампер КВАДРОЦИКЛА STELS UTV 800H
Вариатор КВАДРОЦИКЛА STELS UTV 800H
Водяной насос КВАДРОЦИКЛА STELS UTV 800H
Выхлопная система КВАДРОЦИКЛА STELS UTV 800H
Главная передача КВАДРОЦИКЛА STELS UTV 800H
Головка блока цилиндра КВАДРОЦИКЛА STELS UTV 800H
ГРМ КВАДРОЦИКЛА STELS UTV 800H
ДВС КВАДРОЦИКЛА STELS UTV 800H
Детали руля КВАДРОЦИКЛА STELS UTV 800H
Дуги безопасности КВАДРОЦИКЛА STELS UTV 800H
Задние амортизаторы и стабилизатор поперечной устойчивости КВАДРОЦИКЛА STELS UTV 800H
Задняя подвеска КВАДРОЦИКЛА STELS UTV 800H
Картер двигателя, левая половина КВАДРОЦИКЛА STELS UTV 800H
Картер коробки переключения передач КВАДРОЦИКЛА STELS UTV 800H
Клапана КВАДРОЦИКЛА STELS UTV 800H
Коленвал, поршень КВАДРОЦИКЛА STELS UTV 800H
Корпус дроссельной заслонки КВАДРОЦИКЛА STELS UTV 800H
Кузов КВАДРОЦИКЛА STELS UTV 800H
Магнето КВАДРОЦИКЛА STELS UTV 800H
Механизм переключения передач (часть 1) КВАДРОЦИКЛА STELS UTV 800H
Механизм переключения передач (часть 2) КВАДРОЦИКЛА STELS UTV 800H
Наклейки КВАДРОЦИКЛА STELS UTV 800H
Облицовка корпуса, боковая КВАДРОЦИКЛА STELS UTV 800H
Облицовка корпуса, передняя часть КВАДРОЦИКЛА STELS UTV 800H
Облицовка корпуса, средняя часть КВАДРОЦИКЛА STELS UTV 800H
Опоры для ног, троса управления КВАДРОЦИКЛА STELS UTV 800H
Освещение переднее КВАДРОЦИКЛА STELS UTV 800H
Панель приборная КВАДРОЦИКЛА STELS UTV 800H
Передние амортизаторы и стабилизатор поперечной устойчивости КВАДРОЦИКЛА STELS UTV 800H
Передняя подвеска КВАДРОЦИКЛА STELS UTV 800H
Привода задних колес КВАДРОЦИКЛА STELS UTV 800H
Привода передних колес КВАДРОЦИКЛА STELS UTV 800H
Рама КВАДРОЦИКЛА STELS UTV 800H
Редуктор задний КВАДРОЦИКЛА STELS UTV 800H
Редуктор передний КВАДРОЦИКЛА STELS UTV 800H
Сиденье КВАДРОЦИКЛА STELS UTV 800H
Система охлаждения КВАДРОЦИКЛА STELS UTV 800H
Суппорта, тормозные диски КВАДРОЦИКЛА STELS UTV 800H
Топливный бак КВАДРОЦИКЛА STELS UTV 800H
Тормозная система КВАДРОЦИКЛА STELS UTV 800H
Трубопроводы масляной системы КВАДРОЦИКЛА STELS UTV 800H
Трубопроводы системы охлаждения КВАДРОЦИКЛА STELS UTV 800H
Фильтр воздушный КВАДРОЦИКЛА STELS UTV 800H
Цилиндры КВАДРОЦИКЛА STELS UTV 800H
Шестерни механизма переключения передач КВАДРОЦИКЛА STELS UTV 800H
Электрооборудование КВАДРОЦИКЛА STELS UTV 800H
Бампер КВАДРОЦИКЛА STELS UTV 800V DOMINATOR
Боковые двери КВАДРОЦИКЛА STELS UTV 800V DOMINATOR
Вал главной передачи КВАДРОЦИКЛА STELS UTV 800V DOMINATOR
Вариатор КВАДРОЦИКЛА STELS UTV 800V DOMINATOR
Вентиляция вариатора КВАДРОЦИКЛА STELS UTV 800V DOMINATOR
Выхлопная система КВАДРОЦИКЛА STELS UTV 800V DOMINATOR
Головка блока цилиндров задняя КВАДРОЦИКЛА STELS UTV 800V DOMINATOR
Головка блока цилиндров передняя КВАДРОЦИКЛА STELS UTV 800V DOMINATOR
Грузовая платформа КВАДРОЦИКЛА STELS UTV 800V DOMINATOR
ДВС КВАДРОЦИКЛА STELS UTV 800V DOMINATOR
Задний редуктор и приводные валы КВАДРОЦИКЛА STELS UTV 800V DOMINATOR
Задняя подвеска КВАДРОЦИКЛА STELS UTV 800V DOMINATOR
Картер двигателя КВАДРОЦИКЛА STELS UTV 800V DOMINATOR
Колеса КВАДРОЦИКЛА STELS UTV 800V DOMINATOR
Магнето КВАДРОЦИКЛА STELS UTV 800V DOMINATOR
Механизм переключения передач, часть1 КВАДРОЦИКЛА STELS UTV 800V DOMINATOR
Механизм переключения передач, часть2 КВАДРОЦИКЛА STELS UTV 800V DOMINATOR
Наклейки КВАДРОЦИКЛА STELS UTV 800V DOMINATOR
Облицовка корпуса КВАДРОЦИКЛА STELS UTV 800V DOMINATOR
Передний редуктор и приводные валы КВАДРОЦИКЛА STELS UTV 800V DOMINATOR
Передняя подвеска КВАДРОЦИКЛА STELS UTV 800V DOMINATOR
Рама и аксессуары (1) КВАДРОЦИКЛА STELS UTV 800V DOMINATOR
Рама и аксессуары (2) КВАДРОЦИКЛА STELS UTV 800V DOMINATOR
Редуктор задний КВАДРОЦИКЛА STELS UTV 800V DOMINATOR
Редуктор передний КВАДРОЦИКЛА STELS UTV 800V DOMINATOR
Рулевое управление КВАДРОЦИКЛА STELS UTV 800V DOMINATOR
Сиденье КВАДРОЦИКЛА STELS UTV 800V DOMINATOR
Топливный бак КВАДРОЦИКЛА STELS UTV 800V DOMINATOR
Тормозная система КВАДРОЦИКЛА STELS UTV 800V DOMINATOR
Фаркоп КВАДРОЦИКЛА STELS UTV 800V DOMINATOR
Цилиндры, поршни и коленвал КВАДРОЦИКЛА STELS UTV 800V DOMINATOR
Электрооборудование двигателя КВАДРОЦИКЛА STELS UTV 800V DOMINATOR
Электрооборудование КВАДРОЦИКЛА STELS UTV 800V DOMINATOR
Элементы масляной системы КВАДРОЦИКЛА STELS UTV 800V DOMINATOR
Элементы систем двигателя КВАДРОЦИКЛА STELS UTV 800V DOMINATOR
Элементы системы охлаждения двигателя КВАДРОЦИКЛА STELS UTV 800V DOMINATOR
Элементы топливной системы (atv) КВАДРОЦИКЛА STELS UTV 800V DOMINATOR
Запчасти для снегоходов STELS
Запчасти для снегохода STELS АТАМАН 600
Запчасти для снегохода STELS Капитан 150/200
Запчасти для скутеров STELS
Вариатор СКУТЕРА STELS LEADER 50
Воздухоочиститель СКУТЕРА STELS LEADER 50
Глушитель СКУТЕРА STELS LEADER 50
Головка цилиндра в сборе СКУТЕРА STELS LEADER 50
Заднее колесо СКУТЕРА STELS LEADER 50
Задний амортизатор СКУТЕРА STELS LEADER 50
Задний свет СКУТЕРА STELS LEADER 50
Защита ног СКУТЕРА STELS LEADER 50
Защита рук, зеркала СКУТЕРА STELS LEADER 50
Инструменты СКУТЕРА STELS LEADER 50
Карбюратор СКУТЕРА STELS LEADER 50
Картер двигателя в сборе СКУТЕРА STELS LEADER 50
Кофр СКУТЕРА STELS LEADER 50
Крышка вариатора в сборе СКУТЕРА STELS LEADER 50
Лепестковый клапан СКУТЕРА STELS LEADER 50
Магнето СКУТЕРА STELS LEADER 50
Масляный насос и его привод СКУТЕРА STELS LEADER 50
Наклейки СКУТЕРА STELS LEADER 50
Охлаждение цилиндра СКУТЕРА STELS LEADER 50
Педаль кик-стартера СКУТЕРА STELS LEADER 50
Переднее колесо в сборе СКУТЕРА STELS LEADER 50
Переднее крыло СКУТЕРА STELS LEADER 50
Передний дисковый тормоз СКУТЕРА STELS LEADER 50
Передняя вилка в сборе СКУТЕРА STELS LEADER 50
Передняя крышка СКУТЕРА STELS LEADER 50
Переключатели СКУТЕРА STELS LEADER 50
Поворотники, головной свет СКУТЕРА STELS LEADER 50
Подножка (Часть 1) СКУТЕРА STELS LEADER 50
Подножка (Часть 2) СКУТЕРА STELS LEADER 50
Поршневая и коленвал в сборе СКУТЕРА STELS LEADER 50
Привод кик-стартера и пусковой механизм СКУТЕРА STELS LEADER 50
Рама СКУТЕРА STELS LEADER 50
Рулевое управление СКУТЕРА STELS LEADER 50
Сиденье СКУТЕРА STELS LEADER 50
Спидометр в сборе (Часть 1) СКУТЕРА STELS LEADER 50
Спидометр в сборе (Часть 2) СКУТЕРА STELS LEADER 50
Топливный бак (Часть 1) СКУТЕРА STELS LEADER 50
Топливный бак (Часть 2) СКУТЕРА STELS LEADER 50
Трансмиссия СКУТЕРА STELS LEADER 50
Электрооборудование (Часть 1) СКУТЕРА STELS LEADER 50
Электрооборудование (Часть 2) СКУТЕРА STELS LEADER 50
Амортизаторы задние СКУТЕРА STELS OUTLANDER 150
Багажник задний СКУТЕРА STELS OUTLANDER 150
Блок-фара передняя СКУТЕРА STELS OUTLANDER 150
Вариатор СКУТЕРА STELS OUTLANDER 150
Вилка амортизационная СКУТЕРА STELS OUTLANDER 150
Головка цилиндра с газораспределительным механизмом (ГРМ) СКУТЕРА STELS OUTLANDER 150
Двигатель СКУТЕРА STELS OUTLANDER 150
Двигатель, карбюратор, радиатор СКУТЕРА STELS OUTLANDER 150
Запасной инструмент СКУТЕРА STELS OUTLANDER 150
Карбюратор СКУТЕРА STELS OUTLANDER 150
Картер двигателя СКУТЕРА STELS OUTLANDER 150
Колесо заднее СКУТЕРА STELS OUTLANDER 150
Колесо переднее СКУТЕРА STELS OUTLANDER 150
Кофр СКУТЕРА STELS OUTLANDER 150
Кронштейн крепления номерного знака СКУТЕРА STELS OUTLANDER 150
Крыло заднее СКУТЕРА STELS OUTLANDER 150
Крыло переднее СКУТЕРА STELS OUTLANDER 150
Крышка вариатора СКУТЕРА STELS OUTLANDER 150
Крышка головки цилиндра СКУТЕРА STELS OUTLANDER 150
Крышка картера двигателя СКУТЕРА STELS OUTLANDER 150
Масляный насос СКУТЕРА STELS OUTLANDER 150
Наклейки декоративные СКУТЕРА STELS OUTLANDER 150
Облицовка передняя внутренняя СКУТЕРА STELS OUTLANDER 150
Облицовка передняя СКУТЕРА STELS OUTLANDER 150
Облицовка пола СКУТЕРА STELS OUTLANDER 150
Облицовка руля СКУТЕРА STELS OUTLANDER 150
Облицовка сиденья СКУТЕРА STELS OUTLANDER 150
Опоры для ног СКУТЕРА STELS OUTLANDER 150
Панель приборная аналоговая СКУТЕРА STELS OUTLANDER 150
Поршень и коленвал СКУТЕРА STELS OUTLANDER 150
Рама СКУТЕРА STELS OUTLANDER 150
Редуктор СКУТЕРА STELS OUTLANDER 150
Руль и троса управления СКУТЕРА STELS OUTLANDER 150
Сиденье и багажный отсек СКУТЕРА STELS OUTLANDER 150
Система охлаждения СКУТЕРА STELS OUTLANDER 150
Стартер, магнето СКУТЕРА STELS OUTLANDER 150
Топливный бак СКУТЕРА STELS OUTLANDER 150
Тормоз дисковый задний СКУТЕРА STELS OUTLANDER 150
Тормоз дисковый передний СКУТЕРА STELS OUTLANDER 150
Труба выхлопная с глушителем СКУТЕРА STELS OUTLANDER 150
Фильтр воздушный СКУТЕРА STELS OUTLANDER 150
Цепь ГРМ СКУТЕРА STELS OUTLANDER 150
Цилиндр СКУТЕРА STELS OUTLANDER 150
Электрооборудование СКУТЕРА STELS OUTLANDER 150
Элементы системы охлаждения СКУТЕРА STELS OUTLANDER 150
Амортизатор задний СКУТЕРА STELS SKIF 50
Багажник задний СКУТЕРА STELS SKIF 50
Бачок масляный СКУТЕРА STELS SKIF 50
Вариатор СКУТЕРА STELS SKIF 50
Вилка амортизационная СКУТЕРА STELS SKIF 50
Впускная система СКУТЕРА STELS SKIF 50
Головка цилиндра, цилиндр СКУТЕРА STELS SKIF 50
Двигатель СКУТЕРА STELS SKIF 50
Карбюратор СКУТЕРА STELS SKIF 50
Картер двигателя СКУТЕРА STELS SKIF 50
Колесо заднее СКУТЕРА STELS SKIF 50
Колесо переднее СКУТЕРА STELS SKIF 50
Кофр СКУТЕРА STELS SKIF 50
Крыло заднее СКУТЕРА STELS SKIF 50
Крыло переднее СКУТЕРА STELS SKIF 50
Крышка вариатора СКУТЕРА STELS SKIF 50
Магнето СКУТЕРА STELS SKIF 50
Масляный насос СКУТЕРА STELS SKIF 50
Наклейки декоративные СКУТЕРА STELS SKIF 50
Облицовка пола и опоры СКУТЕРА STELS SKIF 50
Облицовка руля и зеркала СКУТЕРА STELS SKIF 50
Облицовка сиденья СКУТЕРА STELS SKIF 50
Облицовка фары СКУТЕРА STELS SKIF 50
Панель приборов аналоговая СКУТЕРА STELS SKIF 50
Панель приборов цифровая СКУТЕРА STELS SKIF 50
Педаль кик-стартера СКУТЕРА STELS SKIF 50
Поршень, коленвал СКУТЕРА STELS SKIF 50
Пусковой механизм СКУТЕРА STELS SKIF 50
Рама СКУТЕРА STELS SKIF 50
Руль и троса управления СКУТЕРА STELS SKIF 50
Сиденье и багажный отсек СКУТЕРА STELS SKIF 50
Система охлаждения СКУТЕРА STELS SKIF 50
Топливный бак СКУТЕРА STELS SKIF 50
Тормоз дисковый передний СКУТЕРА STELS SKIF 50
Трансмиссия СКУТЕРА STELS SKIF 50
Труба выхлопная с глушителем (Часть 1) СКУТЕРА STELS SKIF 50
Труба выхлопная с глушителем (Часть 2) СКУТЕРА STELS SKIF 50
Фильтр воздушный СКУТЕРА STELS SKIF 50
Электрооборудование СКУТЕРА STELS SKIF 50
Амортизатор задний СКУТЕРА STELS TACTIC 100
Бачок маслянный СКУТЕРА STELS TACTIC 100
Вариатор СКУТЕРА STELS TACTIC 100
Вилка амортизационная СКУТЕРА STELS TACTIC 100
Впускная система СКУТЕРА STELS TACTIC 100
Головка цилиндра, цилиндр СКУТЕРА STELS TACTIC 100
Дополнительное оборудование СКУТЕРА STELS TACTIC 100
Заднее световое оборудование СКУТЕРА STELS TACTIC 100
Запасной инструмент СКУТЕРА STELS TACTIC 100
Карбюратор СКУТЕРА STELS TACTIC 100
Картер двигателя СКУТЕРА STELS TACTIC 100
Колесо заднее СКУТЕРА STELS TACTIC 100
Колесо переднее СКУТЕРА STELS TACTIC 100
Кофр СКУТЕРА STELS TACTIC 100
Крыло переднее СКУТЕРА STELS TACTIC 100
Крышка вариатора СКУТЕРА STELS TACTIC 100
Магнето СКУТЕРА STELS TACTIC 100
Масляный насос СКУТЕРА STELS TACTIC 100
Наклейки декоративные (Часть 1) СКУТЕРА STELS TACTIC 100
Наклейки декоративные (Часть 2) СКУТЕРА STELS TACTIC 100
Наклейки декоративные (Часть 3) СКУТЕРА STELS TACTIC 100
Наклейки декоративные (Часть 4) СКУТЕРА STELS TACTIC 100
Облицовка нижняя СКУТЕРА STELS TACTIC 100
Облицовка пола и опоры СКУТЕРА STELS TACTIC 100
Облицовка руля и зеркал СКУТЕРА STELS TACTIC 100
Облицовка сиденья СКУТЕРА STELS TACTIC 100
Облицовка фары СКУТЕРА STELS TACTIC 100
Органы управления рулевые СКУТЕРА STELS TACTIC 100
Панель приборов аналоговая СКУТЕРА STELS TACTIC 100
Панель приборов цифровая СКУТЕРА STELS TACTIC 100
Педаль кик-стартера СКУТЕРА STELS TACTIC 100
Поршень и коленвал СКУТЕРА STELS TACTIC 100
Пусковой механизм СКУТЕРА STELS TACTIC 100
Рама СКУТЕРА STELS TACTIC 100
Руль и троса управления СКУТЕРА STELS TACTIC 100
Сиденье и багажный отсек СКУТЕРА STELS TACTIC 100
Система охлаждения СКУТЕРА STELS TACTIC 100
Топливный бак СКУТЕРА STELS TACTIC 100
Тормоз дисковый передний СКУТЕРА STELS TACTIC 100
Трансмиссия СКУТЕРА STELS TACTIC 100
Труба выхлопная с глушителем (Часть 1) СКУТЕРА STELS TACTIC 100
Труба выхлопная с глушителем (Часть 2) СКУТЕРА STELS TACTIC 100
Фара передняя СКУТЕРА STELS TACTIC 100
Фильтр воздушный СКУТЕРА STELS TACTIC 100
Электрооборудование СКУТЕРА STELS TACTIC 100
Амортизатор задний СКУТЕРА STELS TACTIC 150
Блок-фара передняя СКУТЕРА STELS TACTIC 150
Вариатор СКУТЕРА STELS TACTIC 150
Вилка амортизационная СКУТЕРА STELS TACTIC 150
Газораспределительный механизм (ГРМ) СКУТЕРА STELS TACTIC 150
Головка цилиндра СКУТЕРА STELS TACTIC 150
Дополнительное оборудование СКУТЕРА STELS TACTIC 150
Заднее световое оборудование СКУТЕРА STELS TACTIC 150
Запасной инструмент СКУТЕРА STELS TACTIC 150
Карбюратор СКУТЕРА STELS TACTIC 150
Картер двигателя СКУТЕРА STELS TACTIC 150
Картер редуктора СКУТЕРА STELS TACTIC 150
Кик-стартер СКУТЕРА STELS TACTIC 150
Колесо заднее СКУТЕРА STELS TACTIC 150
Колесо переднее СКУТЕРА STELS TACTIC 150
Кофр СКУТЕРА STELS TACTIC 150
Крыло переднее СКУТЕРА STELS TACTIC 150
Крышка вариатора СКУТЕРА STELS TACTIC 150
Крышка вентилятора СКУТЕРА STELS TACTIC 150
Крышка головки цилиндра СКУТЕРА STELS TACTIC 150
Крышка картера двигателя СКУТЕРА STELS TACTIC 150
Магнето СКУТЕРА STELS TACTIC 150
Масляный насос СКУТЕРА STELS TACTIC 150
Наклейки декоративные (Часть 1) СКУТЕРА STELS TACTIC 150
Наклейки декоративные (Часть 2) СКУТЕРА STELS TACTIC 150
Наклейки декоративные (Часть 3) СКУТЕРА STELS TACTIC 150
Облицовка нижняя СКУТЕРА STELS TACTIC 150
Облицовка пола и опоры СКУТЕРА STELS TACTIC 150
Облицовка руля и зеркала СКУТЕРА STELS TACTIC 150
Облицовка сиденья СКУТЕРА STELS TACTIC 150
Облицовка фары СКУТЕРА STELS TACTIC 150
Органы управления рулевые СКУТЕРА STELS TACTIC 150
Панель приборов аналоговая СКУТЕРА STELS TACTIC 150
Панель приборов цифровая СКУТЕРА STELS TACTIC 150
Педаль кик-стартера СКУТЕРА STELS TACTIC 150
Поршень, коленвал СКУТЕРА STELS TACTIC 150
Рама СКУТЕРА STELS TACTIC 150
Руль и троса управления СКУТЕРА STELS TACTIC 150
Сиденье и багажный отсек СКУТЕРА STELS TACTIC 150
Стартер СКУТЕРА STELS TACTIC 150
Топливный бак СКУТЕРА STELS TACTIC 150
Тормоз дисковый передний СКУТЕРА STELS TACTIC 150
Труба выхлопная с глушителем СКУТЕРА STELS TACTIC 150
Фильтр воздушный СКУТЕРА STELS TACTIC 150
Цепь ГРМ СКУТЕРА STELS TACTIC 150
Цилиндр СКУТЕРА STELS TACTIC 150
Щиток защитный двигателя СКУТЕРА STELS TACTIC 150
Электрооборудование СКУТЕРА STELS TACTIC 150
Амортизатор задний СКУТЕРА STELS VORTEX 150
Блок-фара передняя СКУТЕРА STELS VORTEX 150
Вариатор СКУТЕРА STELS VORTEX 150
Вилка амортизационная СКУТЕРА STELS VORTEX 150
Газораспределительный механизм (ГРМ) СКУТЕРА STELS VORTEX 150
Головка цилиндра СКУТЕРА STELS VORTEX 150
Дополнительное оборудование СКУТЕРА STELS VORTEX 150
Заднее световое оборудование СКУТЕРА STELS VORTEX 150
Запасной инструмент СКУТЕРА STELS VORTEX 150
Карбюратор СКУТЕРА STELS VORTEX 150
Картер двигателя СКУТЕРА STELS VORTEX 150
Картер редуктора СКУТЕРА STELS VORTEX 150
Кик-стартер СКУТЕРА STELS VORTEX 150
Колесо заднее СКУТЕРА STELS VORTEX 150
Колесо переднее СКУТЕРА STELS VORTEX 150
Крышка вариатора двигателя СКУТЕРА STELS VORTEX 150
Крышка вентилятора СКУТЕРА STELS VORTEX 150
Крышка головки цилиндра СКУТЕРА STELS VORTEX 150
Магнето СКУТЕРА STELS VORTEX 150
Масляный насос СКУТЕРА STELS VORTEX 150
Наклейки декоративные (Часть 1) СКУТЕРА STELS VORTEX 150
Наклейки декоративные (Часть 2) СКУТЕРА STELS VORTEX 150
Наклейки декоративные (Часть 3) СКУТЕРА STELS VORTEX 150
Наклейки декоративные (Часть 4) СКУТЕРА STELS VORTEX 150
Наклейки декоративные (Часть 5) СКУТЕРА STELS VORTEX 150
Наклейки декоративные (Часть 6) СКУТЕРА STELS VORTEX 150
Облицовка боковая СКУТЕРА STELS VORTEX 150
Облицовка нижняя СКУТЕРА STELS VORTEX 150
Облицовка пола и опоры СКУТЕРА STELS VORTEX 150
Облицовка руля и зеркала СКУТЕРА STELS VORTEX 150
Облицовка сиденья СКУТЕРА STELS VORTEX 150
Облицовка фары СКУТЕРА STELS VORTEX 150
Органы управления рулевые СКУТЕРА STELS VORTEX 150
Панель приборов аналоговая СКУТЕРА STELS VORTEX 150
Панель приборов цифровая СКУТЕРА STELS VORTEX 150
Педаль кик-стартера СКУТЕРА STELS VORTEX 150
Поршень, коленвал СКУТЕРА STELS VORTEX 150
Рама СКУТЕРА STELS VORTEX 150
Руль и троса управления СКУТЕРА STELS VORTEX 150
Сиденье и багажный отсек СКУТЕРА STELS VORTEX 150
Стартер СКУТЕРА STELS VORTEX 150
Топливный бак СКУТЕРА STELS VORTEX 150
Тормоз дисковый передний СКУТЕРА STELS VORTEX 150
Труба выхлопная с глушителем СКУТЕРА STELS VORTEX 150
Фильтр воздушный СКУТЕРА STELS VORTEX 150
Цепь ГРМ СКУТЕРА STELS VORTEX 150
Цилиндр СКУТЕРА STELS VORTEX 150
Щиток защитный двигателя СКУТЕРА STELS VORTEX 150
Электрооборудование СКУТЕРА STELS VORTEX 150
Вариатор СКУТЕРА STELS ZION 150
Вилка передняя амортизационная СКУТЕРА STELS ZION 150
Воздушный фильтр СКУТЕРА STELS ZION 150
Глушитель СКУТЕРА STELS ZION 150
Головка цилиндра СКУТЕРА STELS ZION 150
Двигатель СКУТЕРА STELS ZION 150
Декоративные наклейки СКУТЕРА STELS ZION 150
Запасной инструмент СКУТЕРА STELS ZION 150
Карбюратор СКУТЕРА STELS ZION 150
Картер двигателя СКУТЕРА STELS ZION 150
Коленвал, шатун, поршень СКУТЕРА STELS ZION 150
Колесо заднее СКУТЕРА STELS ZION 150
Колесо переднее СКУТЕРА STELS ZION 150
Крыло переднее СКУТЕРА STELS ZION 150
Крышка вариатора СКУТЕРА STELS ZION 150
Крышка головки цилиндра СКУТЕРА STELS ZION 150
Крышка картера двигателя СКУТЕРА STELS ZION 150
Масляный насос СКУТЕРА STELS ZION 150
Облицовка передняя СКУТЕРА STELS ZION 150
Облицовка передняя, внутренняя СКУТЕРА STELS ZION 150
Облицовка пола СКУТЕРА STELS ZION 150
Облицовка руля СКУТЕРА STELS ZION 150
Облицовка сиденья СКУТЕРА STELS ZION 150
Панель приборов СКУТЕРА STELS ZION 150
Рама СКУТЕРА STELS ZION 150
Редуктор СКУТЕРА STELS ZION 150
Руль и троса управления СКУТЕРА STELS ZION 150
Световое оборудование СКУТЕРА STELS ZION 150
Сиденье СКУТЕРА STELS ZION 150
Система охлаждения СКУТЕРА STELS ZION 150
Стартер, магнето СКУТЕРА STELS ZION 150
Термостат СКУТЕРА STELS ZION 150
Топливный бак СКУТЕРА STELS ZION 150
Тормозная система СКУТЕРА STELS ZION 150
Цепь ГРМ СКУТЕРА STELS ZION 150
Цилиндр СКУТЕРА STELS ZION 150
Электрооборудование СКУТЕРА STELS ZION 150
Бачок маслянный СКУТЕРА STELS ARROW 100
Вариатор СКУТЕРА STELS ARROW 100
Вилка амортизационная СКУТЕРА STELS ARROW 100
Впускная система СКУТЕРА STELS ARROW 100
Головка цилиндра, цилиндр СКУТЕРА STELS ARROW 100
Запасной инструмент СКУТЕРА STELS ARROW 100
Карбюратор СКУТЕРА STELS ARROW 100
Картер двигателя СКУТЕРА STELS ARROW 100
Колеса СКУТЕРА STELS ARROW 100
Крышка вариатора СКУТЕРА STELS ARROW 100
Магнето СКУТЕРА STELS ARROW 100
Масляный насос СКУТЕРА STELS ARROW 100
Облицовка передняя внутренняя СКУТЕРА STELS ARROW 100
Облицовка пола, блок-фара передняя СКУТЕРА STELS ARROW 100
Облицовка сиденья, блок-фара задняя СКУТЕРА STELS ARROW 100
Поршень и коленвал СКУТЕРА STELS ARROW 100
Пусковой механизм СКУТЕРА STELS ARROW 100
Рама СКУТЕРА STELS ARROW 100
Руль и троса управления СКУТЕРА STELS ARROW 100
Сиденье и багажный отсек СКУТЕРА STELS ARROW 100
Система охлаждения СКУТЕРА STELS ARROW 100
Топливный бак СКУТЕРА STELS ARROW 100
Трансмиссия СКУТЕРА STELS ARROW 100
Труба выхлопная с глушителем СКУТЕРА STELS ARROW 100
Фильтр воздушный СКУТЕРА STELS ARROW 100
Электрооборудование СКУТЕРА STELS ARROW 100
Блок дроссельной заслонки СКУТЕРА STELS CAFFENERO 250
Вариатор СКУТЕРА STELS CAFFENERO 250
Воздушный фильтр СКУТЕРА STELS CAFFENERO 250
Глушитель СКУТЕРА STELS CAFFENERO 250
Головка цилиндра, цилиндр СКУТЕРА STELS CAFFENERO 250
Двигатель СКУТЕРА STELS CAFFENERO 250
Инструмент запасной СКУТЕРА STELS CAFFENERO 250
Картер ДВС СКУТЕРА STELS CAFFENERO 250
Коленвал, поршень, цепь ГРМ СКУТЕРА STELS CAFFENERO 250
Колесо заднее СКУТЕРА STELS CAFFENERO 250
Колесо переднее СКУТЕРА STELS CAFFENERO 250
Кофр СКУТЕРА STELS CAFFENERO 250
Крышка вариатора СКУТЕРА STELS CAFFENERO 250
Магнето, стартер СКУТЕРА STELS CAFFENERO 250
Масляный насос СКУТЕРА STELS CAFFENERO 250
Насос жидкостного охлаждения СКУТЕРА STELS CAFFENERO 250
Облицовка внутренняя СКУТЕРА STELS CAFFENERO 250
Облицовка задняя СКУТЕРА STELS CAFFENERO 250
Облицовка передняя СКУТЕРА STELS CAFFENERO 250
Передняя вилка СКУТЕРА STELS CAFFENERO 250
Рама СКУТЕРА STELS CAFFENERO 250
Редуктор СКУТЕРА STELS CAFFENERO 250
Руль СКУТЕРА STELS CAFFENERO 250
Сиденье СКУТЕРА STELS CAFFENERO 250
Система охлаждения ДВС СКУТЕРА STELS CAFFENERO 250
Топливный бак СКУТЕРА STELS CAFFENERO 250
Тормоза СКУТЕРА STELS CAFFENERO 250
Электрооборудование СКУТЕРА STELS CAFFENERO 250
Амортизатор задний СКУТЕРА STELS VORTEX 50
Бачок масляный СКУТЕРА STELS VORTEX 50
Блок-фара передняя СКУТЕРА STELS VORTEX 50
Вариатор СКУТЕРА STELS VORTEX 50
Вилка амортизационная СКУТЕРА STELS VORTEX 50
Впускная система СКУТЕРА STELS VORTEX 50
Головка цилиндра, цилиндр СКУТЕРА STELS VORTEX 50
Дополнительное оборудование СКУТЕРА STELS VORTEX 50
Заднее световое оборудование СКУТЕРА STELS VORTEX 50
Запасной инструмент СКУТЕРА STELS VORTEX 50
Карбюратор СКУТЕРА STELS VORTEX 50
Картер двигателя СКУТЕРА STELS VORTEX 50
Колесо заднее СКУТЕРА STELS VORTEX 50
Колесо переднее СКУТЕРА STELS VORTEX 50
Кофр (Часть 1) СКУТЕРА STELS VORTEX 50
Кофр (Часть 2) СКУТЕРА STELS VORTEX 50
Крыло переднее СКУТЕРА STELS VORTEX 50
Крышка вариатора СКУТЕРА STELS VORTEX 50
Магнето СКУТЕРА STELS VORTEX 50
Масляный насос СКУТЕРА STELS VORTEX 50
Наклейки декоративные (Часть 1) СКУТЕРА STELS VORTEX 50
Наклейки декоративные (Часть 2) СКУТЕРА STELS VORTEX 50
Наклейки декоративные (Часть 3) СКУТЕРА STELS VORTEX 50
Наклейки декоративные (Часть 4) СКУТЕРА STELS VORTEX 50
Наклейки декоративные (Часть 5) СКУТЕРА STELS VORTEX 50
Наклейки декоративные (Часть 6) СКУТЕРА STELS VORTEX 50
Облицовка боковая СКУТЕРА STELS VORTEX 50
Облицовка нижняя СКУТЕРА STELS VORTEX 50
Облицовка пола и опоры СКУТЕРА STELS VORTEX 50
Облицовка руля и зеркала СКУТЕРА STELS VORTEX 50
Облицовка сиденья СКУТЕРА STELS VORTEX 50
Облицовка фары СКУТЕРА STELS VORTEX 50
Органы управления рулевые СКУТЕРА STELS VORTEX 50
Панель приборов аналоговая СКУТЕРА STELS VORTEX 50
Панель приборов цифровая СКУТЕРА STELS VORTEX 50
Педаль кик-стартера СКУТЕРА STELS VORTEX 50
Поршень, коленвал СКУТЕРА STELS VORTEX 50
Пусковой механизм СКУТЕРА STELS VORTEX 50
Рама СКУТЕРА STELS VORTEX 50
Руль и троса управления СКУТЕРА STELS VORTEX 50
Сиденье и багажный отсек СКУТЕРА STELS VORTEX 50
Система охлаждения СКУТЕРА STELS VORTEX 50
Топливный бак СКУТЕРА STELS VORTEX 50
Тормоз дисковый передний СКУТЕРА STELS VORTEX 50
Трансмиссия СКУТЕРА STELS VORTEX 50
Труба выхлопная с глушителем СКУТЕРА STELS VORTEX 50
Фильтр воздушный СКУТЕРА STELS VORTEX 50
Электрооборудование СКУТЕРА STELS VORTEX 50
Запчасти для трициклов STELS
Амортизаторы передние ТРИЦИКЛА STELS ДЕСНА 200
Газораспределительный механизм ТРИЦИКЛА STELS ДЕСНА 200
Головка цилиндра, цилиндр ТРИЦИКЛА STELS ДЕСНА 200
Двигатель (часть 2) ТРИЦИКЛА STELS ДЕСНА 200
Двигатель ТРИЦИКЛА STELS ДЕСНА 200
Задняя подвеска ТРИЦИКЛА STELS ДЕСНА 200
Замки ТРИЦИКЛА STELS ДЕСНА 200
Инструмент запасной ТРИЦИКЛА STELS ДЕСНА 200
Картер двигателя ТРИЦИКЛА STELS ДЕСНА 200
Коленвал, поршень, балансир ТРИЦИКЛА STELS ДЕСНА 200
Колесо переднее ТРИЦИКЛА STELS ДЕСНА 200
Коробка перемены передач ТРИЦИКЛА STELS ДЕСНА 200
Крышка двигателя правая ТРИЦИКЛА STELS ДЕСНА 200
Магнето ТРИЦИКЛА STELS ДЕСНА 200
Масляный насос ТРИЦИКЛА STELS ДЕСНА 200
Механизм переключения передач ТРИЦИКЛА STELS ДЕСНА 200
Облицовка ТРИЦИКЛА STELS ДЕСНА 200
Платформа грузовая ТРИЦИКЛА STELS ДЕСНА 200
Приборная панель, приборы освещения ТРИЦИКЛА STELS ДЕСНА 200
Рама ТРИЦИКЛА STELS ДЕСНА 200
Рулевая колонка ТРИЦИКЛА STELS ДЕСНА 200
Рулевое управление КВАДРОЦИКЛА STELS UTV 800V DOMINATOR
Руль ТРИЦИКЛА STELS ДЕСНА 200
Стартер ТРИЦИКЛА STELS ДЕСНА 200
Сцепление ТРИЦИКЛА STELS ДЕСНА 200
Топливный бак, сиденье ТРИЦИКЛА STELS ДЕСНА 200
Тормозная система КВАДРОЦИКЛА STELS UTV 800V DOMINATOR
Троса управления ТРИЦИКЛА STELS ДЕСНА 200
Электрооборудование ТРИЦИКЛА STELS ДЕСНА 200
Для квадроциклов STELS
Расходные материалы и доп. оборудование мотобуксировщика IRBIS МУХТАР-15 (2018 г.)
Система подачи топлива мотобуксировщика IRBIS МУХТАР-15 (2018 г.)